Chẩn đoán & Khắc Phục Côn Xe Ô Tô Kêu Rít (Ly Hợp) Cho Tài Xế Xe Số Sàn: 7 Nguyên Nhân Từ Bi Tê Đến Lá Côn
Bạn đang lái xe số sàn và bỗng nghe tiếng rít/két/re re mỗi lần đạp – nhả côn? Cách xử lý đúng là khoanh vùng theo thời điểm phát tiếng kêu (đạp, nhả hay giữ côn) để chẩn đoán nguyên nhân, rồi khắc phục theo đúng “bộ phận gây tiếng ồn” thay vì sửa lan man.
Tiếp theo, bài viết sẽ giúp bạn nhận diện “côn kêu” theo đúng bản chất cơ khí: tiếng kêu có thể đến từ cụm ly hợp hoặc đến từ cơ cấu điều khiển (bàn đạp, càng, bạc, khớp), và mỗi nhóm sẽ có dấu hiệu đi kèm khác nhau để bạn tự đối chiếu.
Ngoài ra, bạn sẽ có một checklist kiểm tra nhanh tại chỗ: chỉ cần vài thao tác đơn giản (nổ máy, về mo, đạp/nhả theo nhịp) là đã đủ dữ liệu để quyết định có nên đi tiếp hay nên dừng và mang xe đi kiểm tra.
Để bắt đầu, hãy đi từ khái niệm “côn kêu” và thời điểm nó xuất hiện, vì đây là chiếc “chìa khóa” để mở đúng hướng chẩn đoán ở phần nội dung chính.
“Côn kêu” (ly hợp kêu rít/két) là gì và thường xuất hiện ở thời điểm nào?
Côn kêu là hiện tượng hệ thống ly hợp trên xe số sàn phát ra tiếng rít/két/re re khi bạn đạp hoặc nhả bàn đạp côn, thường do ma sát bất thường ở vòng bi/bạc, càng côn hoặc cụm đĩa – mâm ép.
Cụ thể, khi đã hiểu “côn kêu” là tiếng ồn gắn với thao tác cắt – nối truyền động, bạn sẽ dễ khoanh vùng nguồn kêu hơn bằng cách quan sát kêu lúc nào và kêu ở đâu.
Những kiểu tiếng kêu phổ biến của côn (rít/két/re re/lộc cộc) nói lên điều gì?
Nếu nghe kỹ, tiếng kêu không chỉ “gây khó chịu” mà còn là tín hiệu cho bạn biết nhóm lỗi đang xảy ra. Có thể hiểu nhanh theo 4 nhóm âm thanh sau:
- Tiếng rít cao (kít kít, rít dài): thường liên quan vòng bi (bi tê/bi dẫn hướng) bị mòn hoặc khô bôi trơn, ma sát tăng mạnh khi chịu tải.
- Tiếng két/kẹt theo nhịp (két két): hay gặp ở cơ cấu điều khiển (khớp bàn đạp, lò xo hồi, điểm tì càng côn) bị khô hoặc rơ.
- Tiếng re re/ù ù (humming/growling): có thể do bi tê quay không êm, hoặc có hiện tượng cạ nhẹ khi bạn giữ côn ở một vị trí nhất định.
- Tiếng lộc cộc/rung kèm: nghiêng về rơ cơ khí, lỏng chốt, mòn điểm tựa càng, hoặc thậm chí “ăn theo” rung của cụm truyền động.
Điểm quan trọng là: đừng chỉ nghe “to hay nhỏ”. Hãy ghi nhận thời điểm (đạp/nhả/giữ) và tình huống (đứng yên/đang chạy/vào số) vì đó mới là dữ liệu để chẩn đoán chính xác.
Côn kêu có nguy hiểm không và có nên tiếp tục chạy không?
Có thể nguy hiểm, tùy loại tiếng côn kêu; bạn chỉ nên đi tiếp khi tiếng kêu nhẹ, không kèm triệu chứng “đỏ” và không tăng nhanh theo thời gian.
Tuy nhiên, để trả lời đúng câu “có nên đi tiếp khi côn kêu”, bạn cần tối thiểu 3 lý do (và mình ưu tiên lý do quan trọng nhất trước):
- Nguy cơ hỏng lan nếu nguồn kêu là vòng bi/bi tê: tiếng rít khi đạp côn thường liên quan bi tê (vòng bi nhả) mòn/khô; nếu cố chạy, bi tê có thể kẹt, làm thao tác cắt côn kém, dẫn tới vào số khó và mòn nhanh các bề mặt liên quan. (vietnamnet.vn)
- An toàn vận hành khi vào số/đề-pa: nếu côn kêu kèm rung mạnh, vào số nặng hoặc khó về số, bạn có thể gặp tình huống “không cắt hết côn” → xe giật, chết máy khi đề-pa hoặc kẹt số.
- Chi phí sửa chữa tăng theo thời gian: xử lý sớm ở mức “bôi trơn/điều chỉnh” thường nhẹ hơn nhiều so với khi phải hạ hộp số để thay cụm.
Một quy tắc thực tế:
- Đi tiếp được (tạm thời): tiếng kêu nhỏ, không tăng, không rung, vào số vẫn mượt.
- Nên dừng/đi kiểm tra sớm: tiếng rít lớn, kêu tăng theo nhịp đạp, có mùi khét, rung bàn đạp, khó vào số.
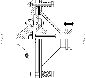
7 nguyên nhân khiến côn xe ô tô kêu rít: từ bi tê đến lá côn
Có 7 nhóm nguyên nhân chính gây côn kêu: (1) bi tê, (2) càng côn/điểm tựa, (3) bạc dẫn hướng/pilot bearing, (4) lá côn, (5) mâm ép/lò xo màng, (6) bánh đà bề mặt xấu, (7) cơ cấu điều khiển (bàn đạp/cáp/côn dầu) bị khô – rơ – sai hành trình.
Dưới đây, mình sẽ bám sát “từ bi tê đến lá côn” để bạn hiểu đúng từng mắt xích trong hệ ly hợp ô tô, tránh nhầm tiếng kêu của côn với nguồn kêu khác.
Kêu khi ĐẠP côn vs kêu khi NHẢ côn: khác nhau ở đâu và nghi ngờ bộ phận nào?
Kêu khi đạp côn thắng về khả năng liên quan bi tê/bi dẫn hướng; kêu khi nhả côn thường nghiêng về lá côn – mâm ép – bề mặt bánh đà hoặc điểm tì càng côn.
Cụ thể hơn, đây là cách “móc xích” để bạn phân biệt nhanh:
- côn kêu khi đạp nguyên nhân thường gặp: lúc đạp, bạn đang “bắt” bi tê làm việc để tách truyền động; nếu bi tê khô/mòn, tiếng rít sẽ lộ rõ. (vietnamnet.vn)
- côn kêu khi nhả nguyên nhân thường gặp: lúc nhả, lá côn bắt đầu ép sát vào bánh đà; nếu bề mặt lá côn bị chai (glazing), mâm ép yếu, hoặc có rung/độ đảo, tiếng kêu có thể xuất hiện kèm giật.
Gợi ý thực hành: nếu tiếng kêu chỉ xuất hiện khi bạn giữ côn đạp sâu và biến mất khi nhả, hãy ưu tiên nghi bi tê hoặc bạc dẫn hướng. (repxpert.us)
Bi tê (vòng bi nhả) hỏng gây tiếng kêu như thế nào?
Bi tê hỏng thường gây tiếng rít/ù khi bạn đạp côn, vì vòng bi phải quay dưới tải và nếu bị mòn hoặc khô, ma sát tăng sẽ phát ra tiếng.
Dưới đây là các bi côn hỏng dấu hiệu bạn có thể nhận ra mà không cần tháo xe:
- Tiếng rít tăng theo lực đạp: bạn đạp càng sâu, tiếng càng rõ.
- Tiếng ồn “đổi tần” khi bạn giữ côn ở điểm giữa: do bi quay không đều, có cảm giác rung nhẹ ở chân.
- Vào số khó hoặc có cảm giác “cắt không ngọt”: bi tê không làm việc trơn tru khiến mâm ép nhả không dứt.
- Đặc biệt: trường hợp dầu hộp số/bi tê khô gây tiếng kêu thường khiến tiếng rít “khô”, nghe sắc và tăng nhanh sau một thời gian vận hành.
Vì sao dấu hiệu này “đáng tin”? Vì trong tình huống đạp côn, vòng bi nhả là chi tiết buộc phải chuyển động tương đối với lực ép lớn; chỉ cần khô/mòn là tiếng ồn xuất hiện rất đặc trưng. (vietnamnet.vn)
Lá côn/mâm ép/bánh đà mòn hoặc “cháy” tạo tiếng kêu ra sao?
Lá côn/mâm ép/bánh đà mòn thường tạo tiếng kêu khi nhả côn kèm rung/giật, vì bề mặt ma sát không còn “ăn” đều và lực ép phân bố lệch.
Bạn có thể nhận ra nhóm này qua các dấu hiệu đi kèm:
- Nhả côn rung (judder) khi đề-pa: xe giật cục, nhất là số 1 hoặc số lùi.
- Có mùi khét sau khi leo dốc/đi chậm: dấu hiệu ma sát quá nhiệt.
- Trượt côn: ga lên nhưng xe “không vút” tương ứng; vòng tua tăng nhanh nhưng tốc độ tăng chậm.
Trong thực tế, nhiều xe bị “côn kêu” không chỉ do 1 chi tiết. Lá côn đã chai bề mặt + mâm ép yếu có thể khiến bạn vừa nghe tiếng, vừa thấy rung, vừa thấy trượt.
Các nguyên nhân “bên ngoài” cụm ly hợp: bàn đạp/cáp/côn dầu/khô khớp…
Có một nhóm tiếng kêu rất hay bị hiểu nhầm: tiếng kêu đến từ cơ cấu điều khiển (bàn đạp, khớp, lò xo hồi, cáp, xi lanh côn) chứ không nằm sâu trong cụm ly hợp.
Nhóm này thường có đặc điểm: tiếng kêu nghe rõ ở khoang lái, đôi khi “cót két” khi bạn nhấp bàn đạp, và có thể thay đổi theo thời tiết (ẩm/khô).
- Cáp côn khô/rơ: tiếng kêu theo nhịp, kèm cảm giác bàn đạp sượng.
- Côn dầu thiếu/khí trong hệ: bàn đạp bất thường, điểm cắt thay đổi, có thể kêu lạch cạch do cơ cấu không làm việc mượt.
- càng cua côn mòn gây kêu: điểm tì/khớp càng (release fork) mòn hoặc khô làm phát ra tiếng khi bạn đạp – nhả, đôi lúc nghe như “két” kim loại.
Nếu bạn đang phân vân “tiếng kêu này có phải do côn không?”, đừng bỏ qua nhóm bên ngoài vì đôi khi chỉ cần bôi trơn/điều chỉnh là hết.
Tự kiểm tra nhanh tại chỗ để xác định “côn kêu do đâu” được không?
Có, bạn có thể tự kiểm tra nhanh côn kêu bằng 5 bước đơn giản để xác định tiếng kêu đến từ bàn đạp/càng côn hay từ trong chuông hộp số, từ đó quyết định có cần mang xe đi sửa ngay không.
Bên cạnh đó, việc tự kiểm tra còn giúp bạn phân biệt kêu côn vs kêu hộp số – một nhầm lẫn rất phổ biến trên xe số sàn.
Checklist 5 bước nghe–cảm nhận: tiếng kêu ở bàn đạp hay trong chuông hộp số?
Có 5 bước kiểm tra chính: nghe ở khoang lái, nghe khoang máy, test theo trạng thái mo/vào số, test theo độ sâu bàn đạp và test theo nhiệt độ máy.
Dưới đây là checklist “làm ngay – hiểu ngay”:
- Nổ máy ở số mo (N), thả chân côn: lắng nghe tiếng nền.
- Đạp côn từ từ tới hết hành trình: nếu tiếng kêu xuất hiện rõ khi đạp sâu → nghi bi tê/bi dẫn hướng. (repxpert.us)
- Giữ côn ở khoảng 1/2 hành trình: tiếng kêu đổi tần/đổi nhịp thường gợi ý ma sát/điểm tì.
- Vào số 1, nhả côn nhẹ (không cần chạy nhanh): nếu nhả đến điểm bám mà kêu + rung → nghi lá côn/mâm ép/bánh đà.
- Lặp lại khi máy nóng hơn: nếu nóng lên tiếng kêu tăng, hãy nghi khô bôi trơn hoặc ma sát tăng do mòn.
Mẹo nhỏ: nếu có người hỗ trợ, hãy nhờ họ đạp/nhả, còn bạn đứng nghe ở khu vực chuông hộp số. Tiếng kêu “sâu” ở khu vực này đáng nghi hơn tiếng “cót két” trong khoang lái.
Nếu kêu kèm khó vào số/rung mạnh/mùi khét: có phải dấu hiệu cần dừng xe và gọi cứu hộ?
Có, nếu côn kêu kèm khó vào số/rung mạnh/mùi khét thì bạn nên hạn chế đi tiếp vì nguy cơ mất khả năng cắt côn và hỏng lan tăng nhanh.
3 lý do rõ nhất:
- Khó vào số cho thấy côn có thể không cắt hết → dễ mài đồng tốc/bánh răng khi bạn cố vào số.
- Rung mạnh thường đi cùng sai lệch ma sát hoặc mâm ép/đĩa côn bất thường → có thể dẫn đến trượt côn, nóng lên nhanh.
- Mùi khét là chỉ báo quá nhiệt ma sát; tiếp tục chạy có thể làm chai bề mặt, tăng trượt và khiến sửa chữa nặng hơn.
Trong tình huống “đỏ”, hãy ưu tiên an toàn: đỗ xe nơi an toàn, hạn chế đề-pa nhiều lần, và sắp xếp kiểm tra sớm.
Cách khắc phục theo từng nguyên nhân: khi nào chỉnh/bôi trơn, khi nào phải thay cụm?
Cách khắc phục côn kêu hiệu quả nhất là đi theo 3 tầng: (1) kiểm tra – bôi trơn – chỉnh hành trình, (2) thay chi tiết gây kêu như bi tê/càng côn, (3) thay bộ côn khi đã mòn/rụng ma sát hoặc có rung – trượt rõ.
Sau đây, mình sẽ đi từ xử lý nhẹ đến xử lý nặng, đồng thời trả lời thẳng các câu người dùng hay hỏi như có cần thay bi côn không và chi phí sửa côn kêu thường rơi vào khoảng nào.
Thay bi tê riêng hay thay “bộ côn” (lá côn + mâm ép + bi tê): phương án nào hợp lý hơn?
Thay bi tê riêng tối ưu chi phí trước mắt; thay “bộ côn” tối ưu độ bền và giảm rủi ro phải hạ hộp số lần hai.
- Nếu tiếng kêu rõ khi đạp côn, xe chưa trượt côn, không rung: có thể ưu tiên kiểm tra và thay bi tê nếu xác định đúng nguồn kêu. (vietnamnet.vn)
- Nếu xe đã rung khi nhả, có dấu trượt hoặc mùi khét: thường nên thay đồng bộ (lá côn + mâm ép + bi tê), vì các chi tiết ma sát đã xuống và làm việc theo “cặp”.
Đặc biệt, chi phí lớn nhất thường nằm ở công tháo lắp/hạ hộp số. Vì vậy, nhiều thợ có kinh nghiệm sẽ khuyên “đã hạ xuống thì làm đồng bộ” để tránh quay lại sửa lần hai trong thời gian ngắn.
Về chi phí sửa côn kêu, mức tham khảo trên một số dòng xe phổ thông có thể dao động theo mẫu xe và phụ tùng. Ví dụ, một số bảng giá/bài tổng hợp ghi chi phí thay bộ côn cho các dòng phổ biến ở mức vài triệu đồng (tùy xe, tùy phụ tùng). (thoidaibonbanh.com)
Lưu ý: con số thực tế phụ thuộc đời xe, tình trạng bánh đà, loại phụ tùng (OEM/chính hãng) và công tháo lắp tại gara.
Sau khi sửa côn, tiếng kêu có thể hết ngay không? Khi nào cần kiểm tra lại?
Có thể hết ngay nếu nguyên nhân là khô – rơ – sai chỉnh; nhưng nếu tiếng kêu giảm rồi quay lại, bạn nên kiểm tra lại sớm vì có thể vẫn còn nguồn kêu trong cụm ly hợp.
Cụ thể, hãy theo 3 mốc:
- Hết ngay sau sửa (1–2 ngày): thường gặp khi bôi trơn/siết lại/chỉnh hành trình đúng.
- Giảm nhưng vẫn còn nhẹ: có thể do bề mặt ma sát đã chai hoặc chi tiết vẫn mòn; cần theo dõi thêm, tránh rà côn.
- Hết rồi tái phát nhanh: thường do chẩn đoán chưa “trúng” nguồn kêu, hoặc có chi tiết khác (càng côn/điểm tì/bi dẫn hướng) vẫn khô/mòn.
Nếu bạn vừa làm ở gara và muốn học nhanh cách nhận biết, bạn có thể xem video minh họa về tiếng kêu bi tê/ly hợp dưới đây để đối chiếu âm thanh theo thao tác đạp côn:
Làm sao để côn không kêu trở lại? (Thói quen đúng vs thói quen sai)
Để giảm nguy cơ côn kêu trở lại, bạn cần 3 nhóm việc: lái đúng để giảm nhiệt ma sát, kiểm tra định kỳ cơ cấu điều khiển, và xử lý sớm tiếng kêu nhỏ trước khi thành tiếng kêu “đỏ”.
Ngoài ra, các mẹo bảo dưỡng giảm tiếng kêu thường hiệu quả nhất khi bạn áp dụng đều đặn, thay vì đợi đến lúc tiếng kêu lớn mới xử lý.
Nên vs Không nên: đạp côn chờ đèn đỏ, rà côn leo dốc, giữ nửa côn
Nên bỏ thói quen đạp côn chờ đèn đỏ và rà côn lâu; thay vào đó hãy về mo – nhả côn, dùng phanh tay khi dừng lâu và lên dốc theo nhịp dứt khoát.
- Không nên: giữ nửa côn khi bò chậm/leo dốc → lá côn nóng, dễ chai bề mặt, phát sinh tiếng kêu và trượt.
- Nên: lên dốc dứt khoát, chọn số phù hợp, hạn chế “mài” ma sát.
- Không nên: đạp côn chờ đèn đỏ lâu → bi tê phải làm việc không cần thiết, tăng hao mòn.
- Nên: dừng lâu thì về N, nhả côn, giảm tải cho bi tê.
Đây là phần “đúng vs sai” nhưng lại tác động rất lớn đến tuổi thọ ly hợp.
Bôi trơn côn “đúng chỗ” là bôi trơn ở đâu để tránh kêu?
Bôi trơn “đúng chỗ” thường là bôi trơn các khớp/điểm tỳ thuộc cơ cấu điều khiển (bàn đạp, chốt, điểm tựa), không phải bôi trơn bừa vào bề mặt ma sát của lá côn.
- Nếu tiếng kêu nằm ở bàn đạp (cót két trong khoang lái), hãy ưu tiên khớp pedal, lò xo hồi, các điểm khớp nối.
- Nếu nghi càng côn/điểm tựa khô, việc bôi trơn đúng vị trí (tùy thiết kế xe) có thể giảm tiếng và giảm mài mòn.
Cảnh báo: tuyệt đối tránh để dầu/mỡ dính lên bề mặt ma sát của lá côn – bánh đà, vì điều này có thể gây trượt côn.
Các trường hợp hiếm: kêu theo nhiệt độ (nguội/nóng), kêu theo vòng tua, kêu sau khi thay côn
Có, côn có thể kêu theo nhiệt độ hoặc kêu sau khi thay nếu còn chi tiết khô/mòn, hoặc lắp đặt/điều chỉnh chưa tối ưu.
- Kêu khi nguội, hết khi nóng: đôi khi do mỡ bôi trơn đặc lại khi lạnh, khớp chưa “mượt”.
- Kêu khi nóng, tăng dần theo hành trình: gợi ý ma sát tăng do mòn/khô ở vòng bi hoặc điểm tì.
- Kêu sau khi thay côn: có thể do vẫn còn chi tiết cũ (bi dẫn hướng/pilot bearing), hoặc điểm tựa càng côn khô.
Trong chẩn đoán chuyên sâu, một số hướng dẫn kỹ thuật cũng chỉ ra rằng tiếng kêu chỉ xuất hiện khi côn bị ngắt (đạp sâu) có thể gợi ý bạc/bi dẫn hướng trục sơ cấp (pilot bearing) có vấn đề. (repxpert.us)
Xe có Start/Stop có làm côn nhanh kêu hơn không?
Có thể có, nếu bạn di chuyển kiểu “dừng – đi – dừng – đi” nhiều và thao tác côn không tối ưu; nhưng Start/Stop không tự động làm côn kêu nếu thói quen đạp – nhả đúng.
3 lý do dễ hiểu:
- Tần suất thao tác tăng: đi nội đô khiến số lần cắt – nối truyền động tăng, bi tê và lá côn làm việc nhiều hơn.
- Dễ hình thành thói quen rà côn: để xe lăn chậm, nhiều người giữ nửa côn, tạo nhiệt và tiếng.
- Tải nhiệt cao hơn ở kẹt xe: nhiệt tích tụ làm lộ rõ tiếng kêu nếu đã có mòn/khô.
Nếu bạn đang cân nhắc mang xe đi kiểm tra, hãy ghi chú rõ: tiếng kêu xuất hiện khi nào (đạp/nhả), đi kèm gì (rung/khó vào số), và đã thử checklist ra sao. Thông tin này giúp thợ chẩn đoán nhanh hơn, tránh kiểu “sửa xe ô ô” theo cảm tính (tức sửa xe ô tô nhưng đoán mò), vừa tốn tiền vừa không hết bệnh.
Trong thực tế kỹ thuật, các tài liệu chẩn đoán tiếng ồn ly hợp của nhà sản xuất phụ tùng/đào tạo kỹ thuật thường nhấn mạnh: tiếng kêu chỉ xuất hiện khi đạp côn hết hành trình có thể liên quan đến pilot bearing (bạc/bi dẫn hướng) hoặc cụm vòng bi trong hệ truyền động. (repxpert.us)

